账单明细
明细管理用于查看用户账户内每一笔交易的详细记录,包括充值、消费、退款、代金券抵扣等。该模块帮助用户清晰掌握平台上的资金流向与资源使用情况,支持筛选、导出及对账需求。
前提条件
您已经获取LLama Factory Online账户和密码,如果需要帮助或尚未注册,可参考注册账户完成注册。
概览
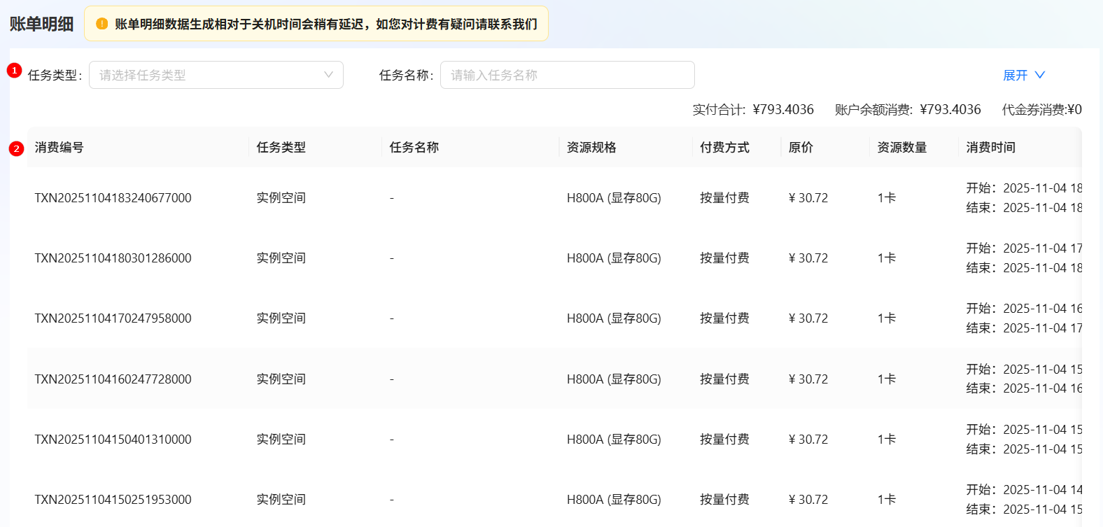
收支明细包括收支筛选和收支列表展示两部分,实例页面如下所示。

| 序号 | 模块名称 | 模块说明 |
|---|---|---|
| ① | 账单筛选 | 可通过设置账单属性,筛选账单。 |
| ② | 账单列表 | 展示用户的历史账单记录,包括编号、资源规格、资源数量、付费方式、开始与结束时间、消费时长等信息。 |
操作详情
筛选
-
使用已注册的LLaMA Factory Online账号登录平台,默认进入总览页面,例如下图所示,单击“账户余额/账户充值”按钮。

-
进入“DataCanvas Apps/账户充值”页面,切换至“Online账单”页面,配置
任务类型、任务名称、消费时间、资源规格、优惠活动、消费编号、消费方式等属性,即可获得对应的表单,例如下图所示。