收支明细
收支明细用于查看用户账户内每一笔交易的详细记录,包括充值、消费、退款、代金券抵扣等。该模块帮助用户清晰掌握平台上的资金流向与资源使用情况,支持筛选、导出及对账需求。
前提条件
您已经获取LLama Factory Online账户和密码,如果需要帮助或尚未注册,可参考注册账户完成注册。
概览
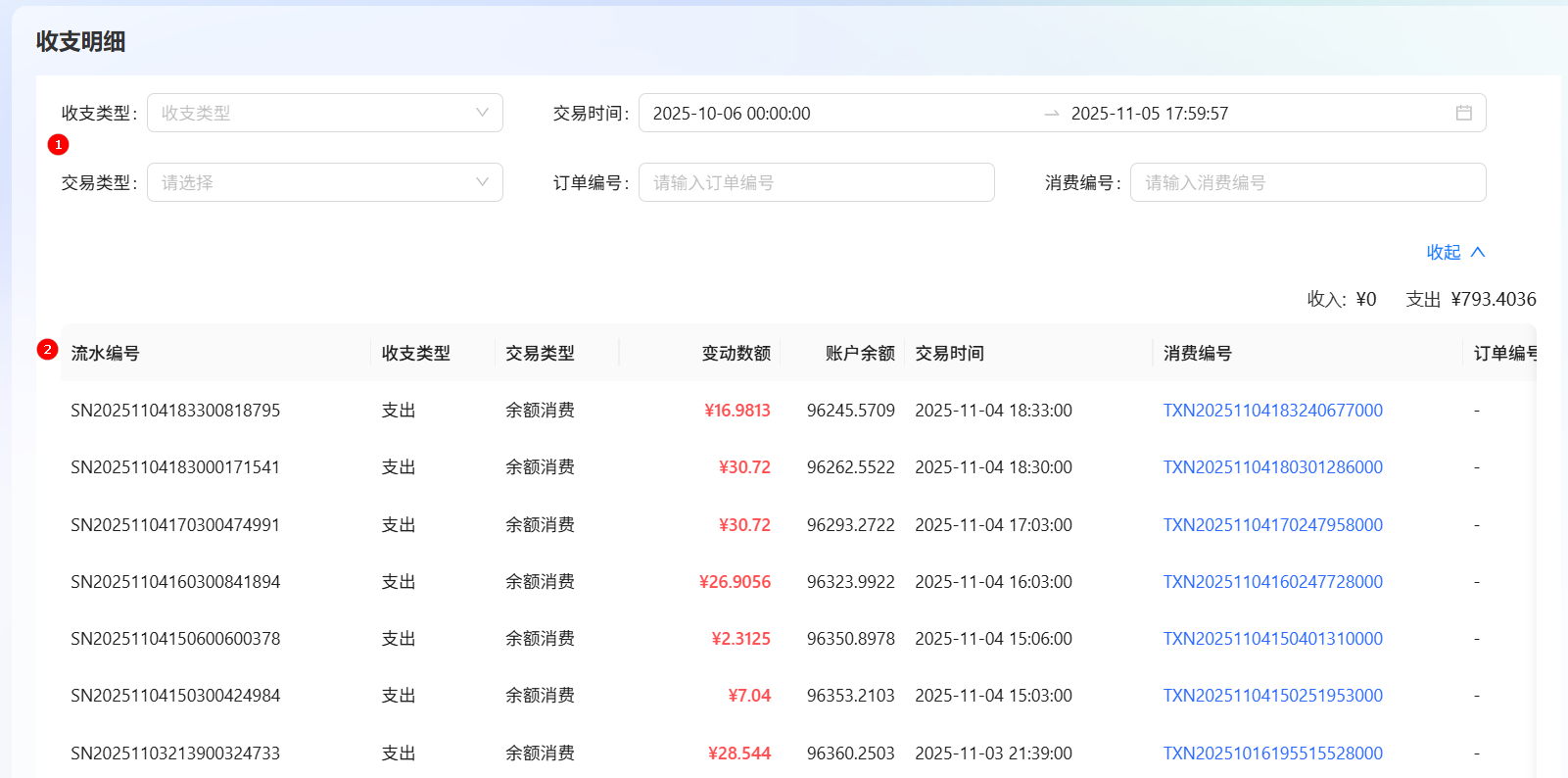
收支明细包括收支筛选和收支列表展示两部分,例如下图所示。

| 序号 | 模块名称 | 模块说明 |
|---|---|---|
| ① | 收支筛选 | 可通过设置收支属性,筛选收支。 |
| ② | 收支列表 | 展示用户的历史收支记录,包括编号、收支类型、交易类型、变动数额、账户余额、交易时间等信息。 |
操作详情
筛选
-
使用已注册的LLaMA Factory Online账号登录平台,默认进入总览页面,例如下图所示,单击“账户余额/账户充值”按钮。

-
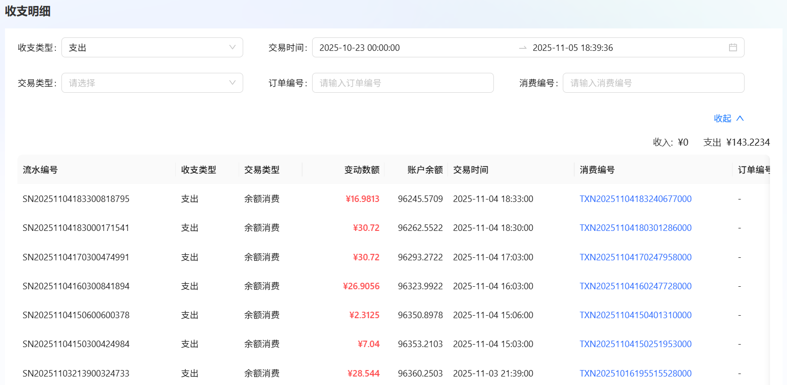
进入“DataCanvas Apps/账户充值”页面,切换至“收支明细”页面,配置
收支类型、交易类型、交易时间、订单编号、消费编号等属性,即可获得对应的表单,例如下图所示。